Vsport

公司动态

了解最新公司动态及行业资讯

滚筒式土壤热解吸修复设备

2017-10-10 02:08:59 320 编辑:admin 来源:本站
  目前,热解吸技术在国内土壤污染治理工程上应用较少,已有的热解吸设备存在装置复杂、不宜拆卸、能源消耗多等问题,如有的需要空气预热系统或安装布袋除尘器、吸附塔等,在成本及应用的方便性上存在不足。同时,某些设备存在加热温度相对较低的问题,对于处理土壤中熔沸点相差较大的污染物的能力不足,且尾气燃烧设备可能造成二次污染。
  本发明针对上述问题,提出了一种便于搬运的小型滚筒式土壤热解吸修复系统,各处理单元方便更换实现便捷安装,有助于降低成本,提高污染土壤的处理效率,方便应用,并具有节约能源,适用广泛等优点。
  1、技术工艺
  本发明提供了一种滚筒式土壤热解吸修复系统,特别适用于去除土壤中挥发性污染物的实验室研究或相对较小规模的实际应用。所述滚筒式土壤热解吸修复系统包括热解吸单元和尾气处理单元 ;所述热解吸单元包括位于滚筒前端的进料装置、位于滚筒后端的出料装置、炉膛、设置在炉膛周围的炉膛保温层、穿设于炉膛的滚筒、设置在炉膛底部的加热元件、和用于带动滚筒转动的传动装置 ;所述尾气处理单元包括烟道、冷凝器、粗纤维过滤装置、活性炭吸附装置、计量计和真空泵。
  优选地,所述进料装置包括加料斗和斜溜管,并通过闸板阀控制给料量 ;所述加料斗设置有一螺旋弹簧下料器,以保证顺利进料 ;所述出料装置设置有出料孔和闸板阀,以根据物料出料情况调整开度,并避免进入大量冷风。所述出料装置的表面还设置有观察孔、热电偶孔和气氛孔,所述气氛孔带有阀门和联接法兰,以根据工艺通入氮气气体。所述加热元件为多个合金炉丝,所述合金炉丝均匀地分布在滚筒下端。所述炉膛和滚筒内分别设有至少一测温元件,以显示炉膛和滚筒内的温度,该测温元件为 K 型热电偶。所述滚筒的前端和后端分别由支撑滚圈支撑 ;所述滚筒的内腔设置有螺旋导料板和翻料板,以保证均匀加热物料 ;所述滚筒的外壁镶嵌有传动齿轮圈,所述传动齿轮圈由减速电机和传动小齿轮驱动。滚筒采用耐热不锈钢材料,外部加热炉炉膛为耐火纤维结构,蓄散热量少,节能。所述滚筒的外壁镶嵌有传动齿轮圈,所述传动齿轮圈由减速电机和传动小齿轮驱动。电机变频调速,调速范围 0.3-2.4r/min,滚筒倾角 0.5 ~ 3.5°。可针对不同污染物的性质通过改变滚筒的转速及倾角调节物料在滚筒内的停留时间,提高处理效率。
  所述滚筒还设置有手动装置,以避免意外停电时不能正常工作并避免滚筒高温下损坏。
  从土壤中挥发出来的污染物及处理过程中产生的粉尘经过冷凝、过滤除尘、活性炭吸附等过程进行后续处理,使污染物滞留在装置中,避免污染物逃逸而造成的二次污染。
  更优选地,所述冷凝器的内部由多个冷凝管构成,所述冷凝器的外部由循环水冷却 ;所述粗纤维过滤装置为高分子纤维过滤装置 ;所述活性炭吸附装置与高分子纤维过滤装置形成串联,同时在两者连接之间设置有直接排气管,以便在无污染物的情况下提高排气效率。冷凝器选用循环水进行冷凝,水可回收利用,节约环保 ;所选冷凝器内有多个毛细管柱承载气体,可分散高温气体,提高冷凝效率 ;除尘装置采用高分子纤维过滤的方法,除尘效果好,使用方便简洁 ;尾气污染物的净化采用活性炭颗粒等,吸附效果好且容易更换,节约成本。
  优选地,所述滚筒式土壤热解吸修复系统还包括设置在炉膛外的控制柜,用以调节和控制滚筒温度、转速、真空度的参数。该控制柜通过人工智能温控仪和晶闸管模块进行调功控制,该人工智能温控仪具有超温报警功能,以避免滚筒超温烧坏。
  优选地,所述滚筒和所述烟道、冷凝器、粗纤维过滤装置、活性炭吸附装置和真空泵均由耐热不锈钢材料制成,所述炉膛为耐火纤维结构。
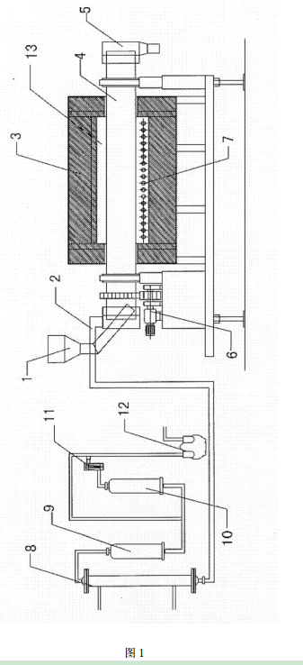
  2、附图说明
滚筒式土壤热解吸修复系统的示意图
  图 1 为本发明的滚筒式土壤热解吸修复系统的示意图。
  附图标记说明如下 :
  进料装置 1、烟道 2、加热炉保温层 3、滚筒 4、出料装置 5、传动装置 6、加热元件 7、冷凝器 8、粗纤维过滤装置 9、活性炭吸附装置 10、计量计 11、真空泵 12、炉膛 13。
  3、优点:
  本发明的滚筒式土壤热解吸修复系统适用于有机氯农药污染土壤,特别适用于处理初始浓度分别为 119.64mg/kg 和 32.64mg/kg 的含 DDTs 和 HCHs 的有机氯农药污染土壤。当采用解吸温度 280℃,停留时间 12min 时,DDTs 和 HCHs 去除率均达到了 90% ;当选用解吸温度 400℃,停留时间为 12min 时,DDTs 及 HCHs 总量分别为 0.384mg/kg,0.098mg/kg,均低于国家土壤环境质量标准二级标准(0.5mg/kg)。处理后的污染土壤基本上对农作物及环境不造成影响,且修复后对土壤有机质、pH、阳离子交换量、全氮等理化性质的影响较小,而速效磷显著增加。说明热解吸技术对土壤自然肥力破坏较小,使得处理后土壤可恢复耕作。
  本发明的滚筒式土壤热解吸修复系统能快速有效地去除土壤中的挥发性污染物质,且挥发出的污染物被尾气处理装置吸附,避免污染大气。本发明的系统结构简单,操作简单、安全,成本低,可移动,适用范围广

30

装备制造经验

立即免费获取土壤修复方案

为用户提供及时、高效、便捷的服务

在线咨询
Vsport环境希望与你携手,共创美好未来...
5