Vsport

行业动态

了解最新公司动态及行业资讯

移动式一体化土壤修复设备带来的福音

2018-05-02 02:17:08 364 编辑:admin 来源:本站
       随着社会不断的发展,科学技术的不断更新,生产制造技术不断的上升,在满足人们日常所需的同时也对自然带来的一定的伤害,一些化工类生产制造企业产生的重污染性不仅破坏了水资源还对土地资源造成了污染,土地作为农作物,和植物生产的最基本要素,一旦遭到污染便会带来连续的污染,土壤修复设备由此也显得格外重要,但是目前的土壤修复设备有很多的不足之处,体积大,不能移动,使用范围也小。
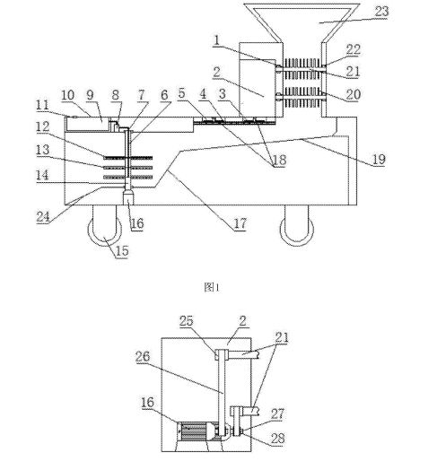
移动式土壤修复设备
      为了解决这种问题于是一种一体化移动式土壤修复设备处理诞生了,它包括移动体,所述移动体的上方与进土口相通,所述进土口的中心处通过轴承活动套接有固定轴,所述  固定轴的外表壁固定有搅拌刀,且固定轴的一侧焊接有从动齿轮,所述从动齿轮的外表壁齿轮啮合有齿带,所述齿带的另一端与主动齿轮啮合,所述主动齿轮固定在动力轴的一侧,所述动力轴与电机连接,所述电机固定在电箱的内部,此一体化移动式土壤修复处理设备,能将土壤进行充分的切碎,增大了土壤的表面积,同时在土壤较潮湿的情况下可以通过加热箱将土壤进行干燥,从而在修复槽内与药水进行快速充分的接触,增加土壤的修复程度,从而提高土壤的质量,避免过高的有毒残留物对植物造成的伤害。

30

装备制造经验

立即免费获取土壤修复方案

为用户提供及时、高效、便捷的服务

在线咨询
Vsport环境希望与你携手,共创美好未来...
5