Vsport

行业动态

了解最新公司动态及行业资讯

污灌区农田土壤修复

2017-10-10 02:21:06 288 编辑:admin 来源:本站
  中国是一个水资源相对缺乏的国家水资源短缺和污染问题尤为突出。一方面工业发展离不开水,而农业更需要水工农业争水问题越来越成为社会发展的制约因素,特别是在我国北方的干旱和半干旱地区;另一方面工业、城市又排放大量的污水,既污染环境,又浪费大量水源。因此,对污水的再生利用是开源节流、减轻水体污染程度、改善生态环境、解决缺水问题的有效途径之一。这也是我国许多地方特别是北方地区,污水灌溉势在必行的原因。但是由于污水处理能力低及环保意识淡漠,且污水成分复杂 ,会带来一系列的水土环境、生态安全等问题。
  因此对污灌区农田土壤需要进行及时的修复,去除进入土壤中的污染物,保证农作物正常生长和农产品的质量。 现在有的土壤修复设置,主要是针对被严重污染的土壤进行修复,修复成本较高,不使用污灌区农田土壤的修复。土壤修复公司郑州Vsport环境提供一种专门适用于污灌区农田土壤修复装置及其修复方法。
  1、污灌区农田土壤修复的技术方案为:
  污灌区农田土壤修复装置,包括机体,机体上有加液箱,机体下方从前到后依次安装有犁、破碎轮和修复液浸入轮;机体前方有挂钩,挂钩用于与动力车辆连接。
  所述的修复液浸入轮包括空心支架、空心轴和多个液体分布环;所述的液体分布环外圆上分布有空心的尖角,所述的尖角上有出水口,尖角与液体分布环连通,液体分布环通过多个支管与空心轴连通,空心轴通过安装在空心支架内的管路与加液箱连通,多个液体分布环同轴心的平行并列安装在同一个轴上。
  所述的破碎轮包括轴和多个螺旋刀片;轴两端通过连接杆安装在机体上,轴通过传动装置和动力源连接;螺旋刀片通过辐射支架安装在轴上。
  所述的犁包括多个犁片,多个犁片平行并列安装在横梁上,横梁顶部连接压力调节装置;犁片朝前方向上有刃口。
  根据土壤板结的情况决定数量和犁片之间的间距,犁片将板结土壤翻松;犁翻动土壤后,土壤为大块的翻起泥块,螺旋刀片打碎泥块同时,将碎泥块摊平。
  根据土壤被污染的情况,选择合适的修复液,加热到加液箱中,修复液输送到各个液体分布环中,液体分布环在破碎过的土壤中滚动,将表面的尖角逐个依次的插入到土壤中,修复液也随之浸入到土壤中。
  2、污灌区农田土壤修复方法,包括以下步骤:
  犁将土壤深翻,深翻的土壤再经过破碎轮破碎;
  然后再由修复液浸入轮将尖角插入到土壤中,修复液通过尖角的出水口浸入到土壤中。修复液的投放量根据污染情况和修复液浓度、性质决定。
  本发明提供的污灌区农田土壤修复装置及其修复方法,根据污水灌溉农田的土壤污染情况,选择深翻的深度和修复液,先将土壤翻松,再经过破碎泥块,提高去除污染物的效率。
  3、污灌区农田土壤修复附图说明
污灌区农田土壤修复
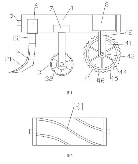
  图1是本发明的结构示意图;
  图2是本发明的破碎轮的结构示意图。
  4、具体实施方式
  结合附图说明本发明的具体实施方式。
  如图1所示,污灌区农田土壤修复装置,包括机体1,机体1上有加液箱8,机体1下方从前到后依次安装有犁、破碎轮3和修复液浸入轮4;机体1前方有挂钩5,挂钩5用于与动力车辆连接。
  可以通过机动车牵引该装置,为该装置提供移动的动力源。
  所述的犁包括多个犁片2,多个犁片2平行并列安装在横梁22上,横梁22顶部连接压力调节装置6;犁片2朝前方向上有刃口21。
  优选犁片2数量为3到5片,根据土壤板结的情况决定数量和犁片2之间的间距。为了提高犁片将板结土壤翻松的效率,在前面加上了刃口21。
  如图1和图2所示,所述的破碎轮3包括轴和多个螺旋刀片31;轴两端通过连接杆安装在机体1上,轴通过传动装置和动力源7连接;螺旋刀片31通过辐射支架32安装在轴上,螺旋刀片31相互平行形成破碎轮3的圆柱轮面。
  采用螺旋刀片31主要原因,是在前的犁翻动土壤后,土壤为大块的翻起泥块,并且会形成类似田垄的条块,螺旋结构的刀片可以在打碎泥块同时,将碎泥块摊平,并且可以分散同一个刀片受力。
  所述的修复液浸入轮4包括空心支架41、空心轴43和多个液体分布环45;所述的液体分布环45外圆上分布有空心的尖角46,所述的尖角46上有出水口,尖角46与液体分布环45连通,液体分布环45通过多个支管44与空心轴43连通,空心轴43通过安装在空心支架41内的管路42与加液箱8连通,多个液体分布环45平行并列安装。、
  根据土壤被污染的情况,选择合适的修复液,加热到加液箱8中,修复液从管路42进入到空心轴43内,然后分别进入到各个支管44,将修复液输送到各个液体分布环45中,液体分布环45在随着整个污灌区农田土壤修复装置前进的过程中,自身围绕空心轴43转动并在破碎过的土壤中滚动,将表面的尖角46逐个依次的插入到土壤中,修复液也随之浸入到土壤中。尖角46上的出水口可以为多个立体分布,比如在尖角顶部和侧壁上都分布有出水口。
  5、污灌区农田土壤修复方法,包括以下步骤:
  犁将土壤深翻,深翻的土壤再经过破碎轮3破碎;根据土壤污染情况,选择深翻的深度,然后经过破碎泥块,泥土经过破碎后,可以提高去除污染物的效率。
  然后再由修复液浸入轮4将尖角46插入到土壤中,修复液通过尖角46的出水口浸入到土壤中。修复液的投放量根据污染情况和修复液浓度、性质决定。

30

装备制造经验

立即免费获取土壤修复方案

为用户提供及时、高效、便捷的服务

在线咨询
Vsport环境希望与你携手,共创美好未来...
5